菏泽一服务中心变相提高收费标准被罚
发布时间:2022-01-30
行政处罚
行政相对人名称:单县妇幼保健计划生育服务中心
法定代表人:崔勇
违法事实:超出政府指导价浮动幅度制定价格和扩大收费范围变相提高收费标准
处罚依据:价格法 价格违法行为行政处罚规定
处罚内容:超出政府指导价浮动幅度制定价格和扩大收费范围变相提高收费标准
罚款金额(万元) :2
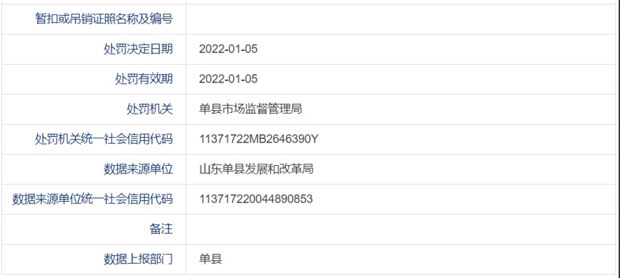
处罚机关:单县市场监督管理局
来源:信用中国(山东菏泽)网站

行政处罚
行政相对人名称:单县妇幼保健计划生育服务中心
法定代表人:崔勇
违法事实:超出政府指导价浮动幅度制定价格和扩大收费范围变相提高收费标准
处罚依据:价格法 价格违法行为行政处罚规定
处罚内容:超出政府指导价浮动幅度制定价格和扩大收费范围变相提高收费标准
罚款金额(万元) :2
处罚机关:单县市场监督管理局
来源:信用中国(山东菏泽)网站